Overview
Product status: Prototypes Available
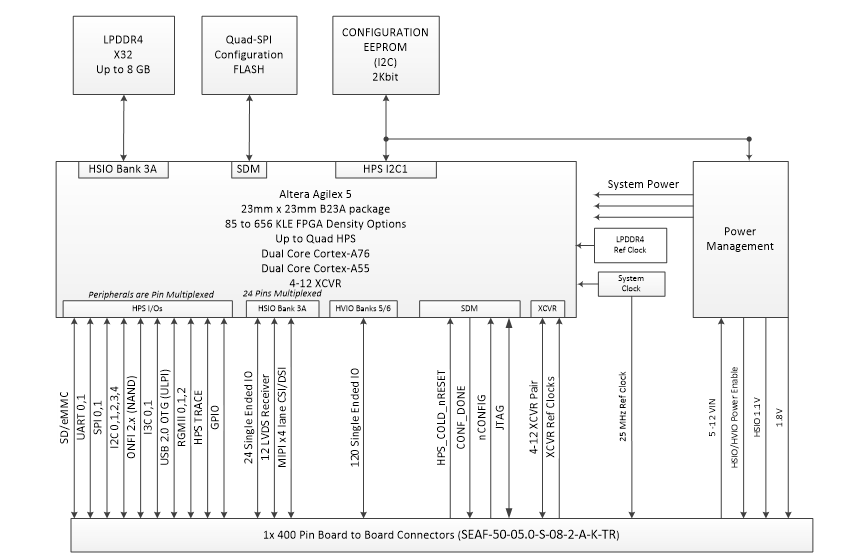
The MitySOM-A5E Mini is a system on module featuring an Altera Agilex 5E SoC (System on a Chip) and includes up to 656KLE FPGA fabric, dual core Cortex-A55 + dual core Cortex-A76, on-board power supplies, and memory subsystems. The Altera Agilex 5 delivers 2.5x the performance at 50% less power consumption versus the Cyclone V SoC.
Prototypes of the MitySOM-A5E Mini are currently available. Contact Critical Link at info@criticallink.com to get more information.
Applications
- Artificial Intelligence
- Video & Vision Analytics
- Biometrics
- Radios & Communications
- Automated Test & Measurement
- Robotics
- Industry 4.0 / Industrial IOT
- Medical Equipment & Imaging
- Process Automation
- Equipment / Condition Monitoring
Specifications
Altera Agilex 5E SoC
- Agilex 5E-Series: 23mm x 23mm package
- FPGA fabric 85KLE up to 656 KLE
- Dual core Cortex-A55 + Dual core Cortex-A76
- Up to twelve transceiver pairs at 17.16/28.1 Gbps
Memory
- 8 GB LPDDR4
- SD/eMMC
- uSD
- QSPI NOR for configuration
Power
- 5-12Vdc Input, all supplies generated on board
Interfaces
- MIPI (x4 lanes x 7)
- UART
- SPI
- I2C
- USB2
- RGMII
- Ethernet
- Display Port
- 48 LVDS pairs
- GPIO
Mechanical
| Dimensions | Length | Width |
| Inches | 3.2 | 2.0 |
| Millimeters | 82.0 | 50.8 |


Block Diagram

Documentation
Development Resources
Development Kit
The MitySOM-A5E Mini Development Kit supports Critical Link’s Agilex 5 FPGA system on modules.
Each Development Kit comes complete with all the connectivity needed in any application well suited for the MitySOM-A5E Mini, including DisplayPort, USB 3.1, Gigabit Ethernet, SFP+ (supporting up to 10 Gb Ethernet), one x4 lane MIPI CSI camera inputs, and PCIe 4.0. Additionally, the development kit is equipped with a Micro-USB 2.0 console interface, Micro-SD card storage, and a dual 46-pin expansion interface providing support for additional I/O signals.
The on-board DisplayPort supports DisplayPort 1.4 for a total bandwidth of 32.4Gbps with 32 audio channels and 8K video at 60Hz with 10-bit color resolution.
Visit the MitySOM-A5E Development Kit product page to learn more
Technical Support
Our customers benefit from engineering and applications support for the life of their product. This includes free, lifetime access to our technical support site, as well as access to application engineering resources and other services.
- In the future, customers will be able to visit our MitySOM-A5E Wiki to access:
- Linux OS and board support package details, including source code
- Product change notices
- Base board design guide
- Development kit base board design files
- Software guide to getting started, tool chain, tips and how-to’s
- Hardware power draw, pin outs, shock and vibration, CAD files, mechanical drawings and 3D models
- Frequently asked questions
- Customers will also be able to visit our MitySOM-A5E Forum to access:
- Software, Hardware, and FPGA forums
- Altera Agilex 5E-series Documentation
Critical Link’s embedded design team also offers engineering services and other support options such as:
- Schematic design review for customer designed carrier boards
- Complete design review services
- Software development services, including custom BSP development
- Base board development services
- Systems Engineering, Software, and Hardware Design to support your project anywhere in the product development lifecycle
Contact us for more information on these services.
Purchase Options
The following table lists the standard configurations for Critical Link’s MitySOM-A5E Mini Altera Agilex 5 based modules. For shipping status, availability, and lead time of these configurations please contact Critical Link at info@criticallink.com.
| Orderable P/N | FPGA KLE | HPS / CPU Speed Grade | No. XCVRs | HPS RAM (32-bit) | On-board Flash | Operating Temperature | Buy |
| A5ED-B06-1X2-MRC-CS | 85 | 800 MHz | 4 | 2 GB | 32 MB | 0C to +70C | Buy |
| A5ED-B06-1X2-MRI-CS | 85 | 800 MHz | 4 | 2 GB | 32 MB | -40C to +85C | Buy |
| A5ED-B16-1X4-MRC-CS | 138 | 800 MHz | 4 | 4 GB | 32 MB | 0C to +70C | Buy |
| A5ED-B16-1X4-MRI-CS | 138 | 800 MHz | 4 | 4 GB | 32 MB | -40C to +85C | Buy |
Related Products
Why Critical Link
- Product Support
- Obsolescence Management
- US-Based Support
- Faster Time to Market
- Continuity of Supply
- Commitment to our Products
- Quality
- Long-Term Availability
- Industrial Performance
- Sourcing Advantages
- Flexible & Scalable
- Security
